logo

Своими руками: Как сделать рабочее место у окна

Все, что нужно для небольшого письменного стола — несколько досок и окно без подоконника

Houzz Россия
Houzz Россия

5 сент. 2017

Обновлено 19 янв. 2018

Своими руками: Как сделать рабочее место у окна
Предположим, у вас есть свободное место у окна и вы любите писать или рисовать. Но у вас нет небольшого письменного стола, за которым было бы удобно работать дома, наслаждаясь естественным светом и видом из окна. Так почему бы не доставить себе радость и не сделать рабочее место своими руками?
Своими руками: Как сделать рабочее место у окна
Чтобы определиться с размерами стола, прежде всего нужно измерить окно. Тогда вы сможете посчитать, сколько досок вам понадобится, и какого они должны быть размера. В нашей модели мы запланировали открытые отсеки внутри стола, куда можно положить рисунки или тетради.

Прибавьте несколько сантиметров по бокам, чтобы вам было куда поставить цветы, стакан с карандашами или настольную лампу для работы по вечерам.
Своими руками: Как сделать рабочее место у окна
Письменный стол у окна своими руками — мастер-класс
Инструменты:
  • дрель или шуруповёрт со сверлами для работы по дереву и бетону;
  • несколько зажимов;
  • ножовка;
  • рулетка;
  • карандаш;
  • сверло для высверливания отверстия с фаской.

Материалы:
  • 2 широких сосновых доски размером 1100x300x18 мм;
  • 1 узкая доска из сосны размером 2400x70x20 мм;
  • штанга из дуба диаметром 35 мм;
  • клей для дерева;
  • несколько саморезов 4x50;
  • 4 самореза 5x60;
  • 2 дюбеля.
Своими руками: Как сделать рабочее место у окна
Своими руками: Как сделать рабочее место у окна
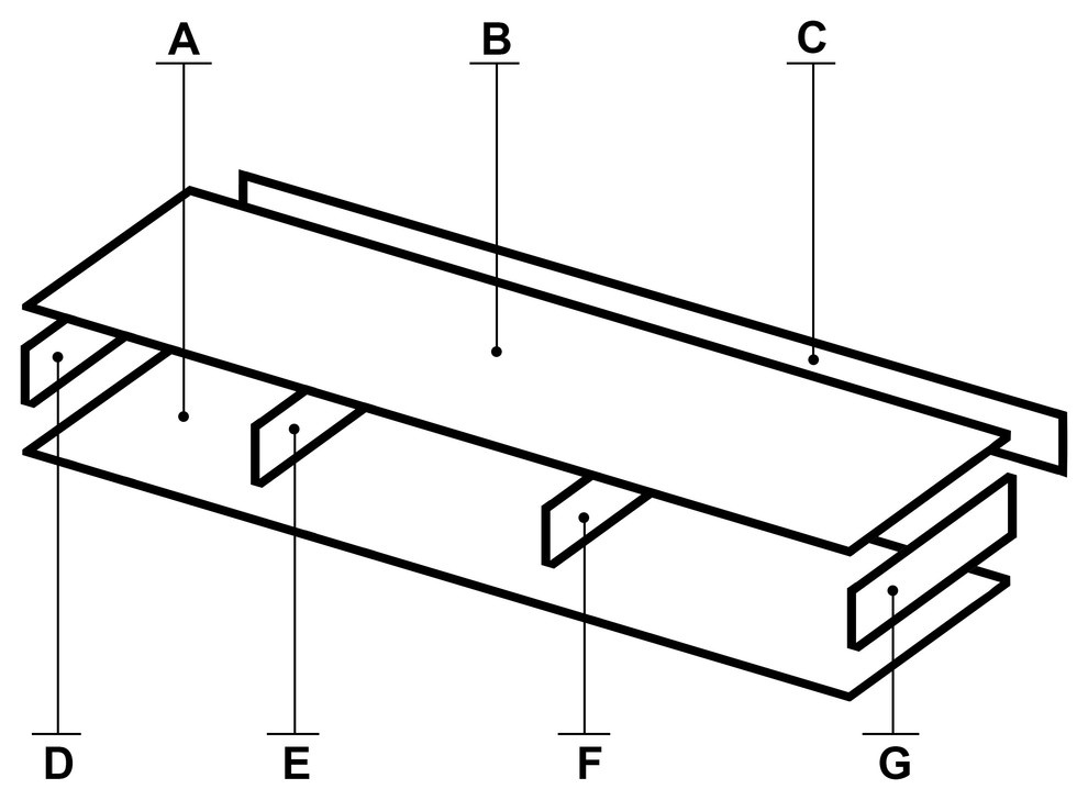
Шаг 1. Распиливаем горизонтальные доски
Выпилите две панели (на плане они обозначены буквами A и B) длиной 1100 мм из сосновой доски. Отложите их.
Своими руками: Как сделать рабочее место у окна
Шаг 2. Выпиливаем заднюю и боковые стенки
Выпилите четыре планки (D, E, F и G на плане) длиной 280 мм из узкой сосновой доски. Теперь из той же доски выпилите заднюю стенку (С) длиной 1100 мм.
Своими руками: Как сделать рабочее место у окна
Шаг 3. Выпиливаем ножки
Из дубовой штанги сделайте две ножки, каждая длиной 630 мм.
Своими руками: Как сделать рабочее место у окна
Своими руками: Как сделать рабочее место у окна
Шаг 4. Отмечаем отверстия для болтов
Возьмите доску В и просверлите отверстия с фаской согласно инструкции, приведенной выше. Отверстия, прилегающие к границе, должны располагаться на расстоянии 10 мм от края доски.
Своими руками: Как сделать рабочее место у окна
Используйте специальное сверло для создания отверстия с фаской, тогда у вас получится красивая и гладкая поверхность. Саморез зайдет до конца, его головка заглубится в дерево и не нарушит волокна.
Своими руками: Как сделать рабочее место у окна
Шаг 5. Соединяем детали
На верхнюю грань задней стенки С нанесите клей для дерева.
Своими руками: Как сделать рабочее место у окна
Шаг 6. Фиксируем детали
С помощью четырех саморезов прикрутите доску В к задней стенке С.
Своими руками: Как сделать рабочее место у окна
Шаг 7. Проклеиваем все детали
Нанесите клей на две соседние стороны деталей D, E, F и G.
Своими руками: Как сделать рабочее место у окна
Своими руками: Как сделать рабочее место у окна
Шаг 8. Собираем мебель
Каждую из приклеенных планок закрепите с помощью двух саморезов. Чтобы склеенные детали держались крепко, перед тем как вкручивать саморезы, зафиксируйте их с помощью небольших зажимов.
Своими руками: Как сделать рабочее место у окна
Шаг 9. Укрепляем конструкцию
Закрепите каждую планку D, E, F и G, вкрутив еще по одному саморезу сзади.
Своими руками: Как сделать рабочее место у окна
Шаг 10. Крепим ножки
В центре каждого бокового отделения просверлите отверстие диаметром 8 мм.
Своими руками: Как сделать рабочее место у окна
Теперь с помощью больших саморезов прикрутите две ножки, используя для этого просверленные отверстия. Во время работы удерживайте ножки как можно крепче.
Своими руками: Как сделать рабочее место у окна
Шаг 11. Фиксируем письменный стол у стены
Поставьте стол к стене и отметьте его высоту карандашом. Отступите от метки 40 мм и просверлите в стене два отверстия, используя сверла по бетону. Расстояние по горизонтали между отверстиями для дюбелей должно быть 800 мм. Вставьте дюбели в отверстия.
Своими руками: Как сделать рабочее место у окна
Теперь перенесите метки на внутреннюю сторону задней стенки С нашего столика. С помощью длинных саморезов прикрепите стол к стене таким образом, чтобы саморез прошел сквозь дерево и его конец оказался в дюбеле.
Своими руками: Как сделать рабочее место у окна
Шаг 12. Приклеиваем верхнюю планку
На верхние грани наших деталей C, D, E, F и G нанесите клей для дерева и приклейте столешницу рабочего стола.
Своими руками: Как сделать рабочее место у окна
С помощью зажимов зафиксируйте положение столешницы. Подождите несколько часов, пока клей подсохнет, и снимите зажимы.
Своими руками: Как сделать рабочее место у окна
Осталось найти подходящий стул, несколько стаканов для карандашей и любимое горшечное растение. Теперь вы можете работать при дневном свете.

ВАША ОЧЕРЕДЬ…
Хотели бы вы сделать рабочий столик своими руками? А может, уже сделали? Поделитесь фото в комментариях.

Комментарии 5

Svet-Lana, не, не согласна, про "наваять любого размера". В смысле согласна, что можно наваять, но в статье уж как-то слишком конкретно заявлена тема о том, что стол небольшой и именно "писать или рисовать". На том столе, что сделан, можно в лучшем случае чаю попить, и то - тарелочки с печеньками придется по бокам расставлять, а чтобы рисовать проще нормальный стол поставить без всего этого ваяния.
)) к окну без подоконника наконец-то приделали подоконник на ножках )) спасибо за статью, расписали алгоритм действий. Теперь легче будет мастерить, зная, что да как делать. А размер столешницы можно и увеличить - чтобы действительно был рабочий стол, а не подставка под цветы и карандаши))
если Вы любите писать или рисовать, то такой стол будет для Вас в первую очередь слишком узким.

Оставьте комментарий

Читать похожие статьи